NSN 6515-01-478-1265 NIIN 014781265 — Tubing Branched Connector

NSN
Item Name
Assigned
DEMIL
Shelf Life
UOM
Using Services
NSN:
6515-01-478-1265
6515014781265
Description:
CONNECTOR,TUBING,BRANCHED
NSN Assigned:
30-AUG-00
DEMIL:
NO
Shelf Life:
N/A
UOM:
--
Using Services:
--

Price Quote Get an up to date pricing and availability quote for this product. Order online or over the phone.

Part Number:
Quantity Requested:
Your Email:
Full Name:
Contact Phone:
Company:

Quality Commitment

Serving our customers with quality and safety first.

  •   AS9120 Certified
  •   Audited supply chain
  •   ITAR Registered
  •   DDTC Registered
  •   HAZMAT Certified
  •   Customer service objectives
  •   Every product 100% inspected
AS9120 Certified by SAI Global

6515-01-478-1265 Specification Set by the OEM (see RNCC code 3)

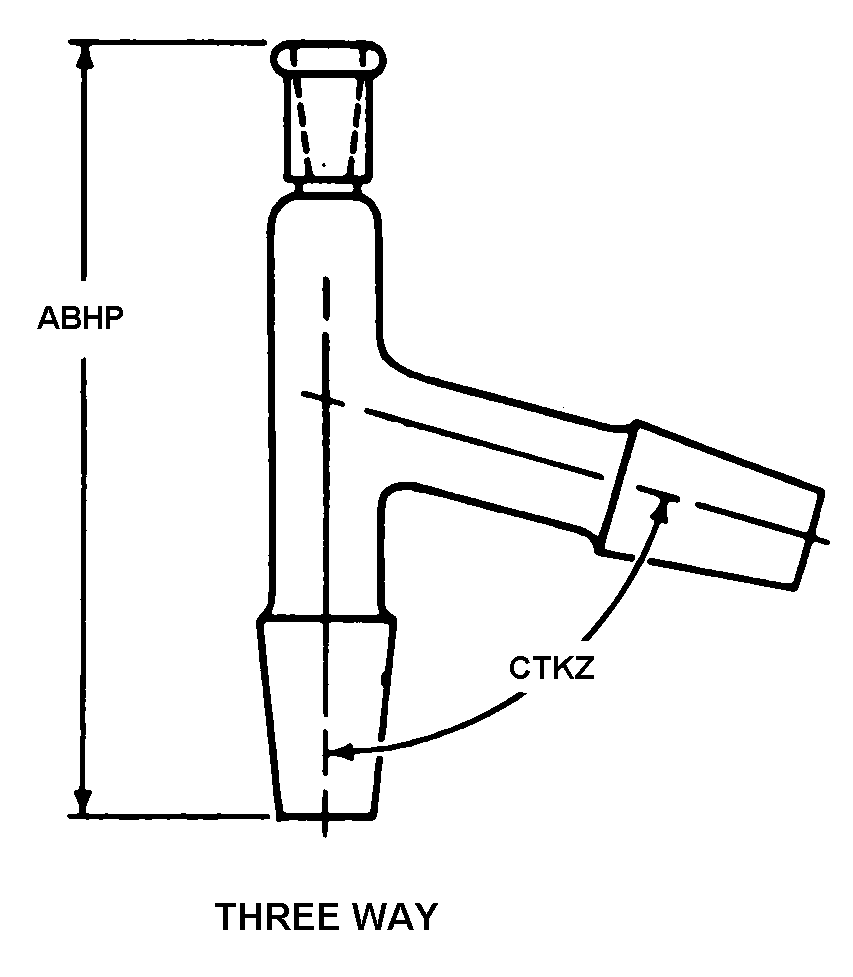
Overall Length ABHP:

2.830in. ⁓2-27/32"

Primary Container Type CQCT:

case

Primary Container Unit Quantity CQTF:

1000

Angle CTKZ:

30.0 degrees

Special Features FEAT:

none male l l fitting and one female l l fitting; top end inside diameter 0.130in.; bottom end 0.125 inside diameter; cage 0Y7P7 manufactures item in bulk, NON-Sterile; cage 1QZC2 repackages and sterilizes item

Style Designator STYL:

three way

Cross Reference Parts Part numbers that meet the specification outlined on this page and set by the OEM

Part Number
Cage
RNCC
RNVC
DAC
RNAAC
Status
MSDS
SADC
Part Number:
610911
Cage Code:
0Y7P7
RNCC:
3
RNVC:
2
DAC:
4
RNAAC:
9Z
Status:
A
MSDS:
SADC:
Part Number:
11-01464
Cage Code:
1QZC2
RNCC:
5
RNVC:
2
DAC:
4
RNAAC:
9Z
Status:
A
MSDS:
SADC:

Identification Item Identification Guide (IIG) and Item Name Code (INC)

INC
FIIG
Concept No.
App. Key
Cond. Code
Status
INC:
37514
FIIG:
A24200
Concept No.:
App. Key:
AF
Cond. Code:
2
Status:
A
STYLE DESIGNATOR THREE WAY style nsn 6515-01-478-1265

Definition Definition of approved item name (AIN): "CONNECTOR,TUBING,BRANCHED"

A metallic/nonmetallic item of either a t or y shape used in making three way connections with metallic/nonmetallic tubing.

6515-01-478-1265 Material Hazmat, Precious Metals, Criticality, Enviroment, and ESD

HMIC
PMIC
ESD
ENAC
ADPE
CRITL
HMIC:
N
PMIC:
A
ESD:
A
ESD:
A
ADPE:
0
CRITL:
X
Hazmat (HMIC) N

Indicates there is no data in the hmirs and the nsn is in a fsc not generally suspected of containing hazardous materials.

Precious Metals (PMIC) A

Item does not contain precious metal.

Electrostatic Discharge (ESD) A

No known electrostatic discharge (esd) or electromagnetic interference (emi) sensitivity.

ADPE 0

Represents items with no adp components

Criticality X

The item does not have a nuclear hardened feature or any other critical feature such as tolerance, fit restriction or application.

  Identification Codes

HMIC: Hazardous Material Indicator Code. A one position code that identifies a hazardous item.

PMIC: Precious Metal Indicator Code. A one position code which identifies items that have precious metals as part of their content. precious metals are those metals generally considered to be uncommon, highly valuable, and relatively superior in certain properties such as resistance to corrosion and electrical conductivity.

ESD: Electrostatic Discharge. Indicates if an item is susceptible to electrostatic discharge or electromagnetic interference damage. electrostatic discharge damage occurs when an accumulation of static electricity generated by the relative motion or separation of materials is released to another item by direct contact. electromagnetic interference damage occurs when an item comes into proximity with an electrostatic or magnetic field.

ENAC: Enviromental Attribute Code. Identifies items with environmentally preferred characteristics.

CRITL: Criticality Indicator Code. Indicates an item is technically critical by tolerance, fit, application, nuclear hardness properties, or other characteristics.