NSN 6240-01-137-5319 NIIN 011375319 — Flashtube Lamp

NSN
Item Name
Assigned
DEMIL
Shelf Life
UOM
Using Services
NSN:
6240-01-137-5319
6240011375319
Description:
LAMP,FLASHTUBE
NSN Assigned:
28-AUG-82
DEMIL:
NO
Shelf Life:
N/A
UOM:
1 EA
Using Services:

Price Quote Get an up to date pricing and availability quote for this product. Order online or over the phone.

Part Number:
Quantity Requested:
Your Email:
Full Name:
Contact Phone:
Company:

Quality Commitment

Serving our customers with quality and safety first.

  •   AS9120 Certified
  •   Audited supply chain
  •   ITAR Registered
  •   DDTC Registered
  •   HAZMAT Certified
  •   Customer service objectives
  •   Every product 100% inspected
AS9120 Certified by SAI Global

6240-01-137-5319 Specification Set by the OEM (see RNCC code 3)

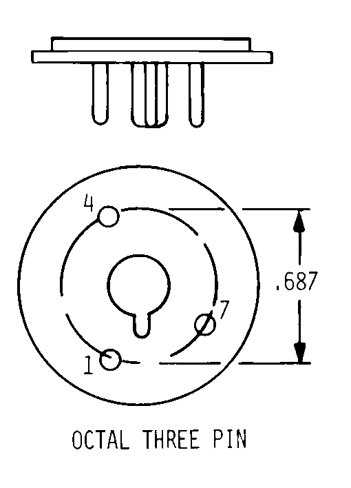
Flashtube Style AFSB:

horizontal helix

Flashtube Overall Length AFSF:

1.250in.

End Item Identification AGAV:

OMNI-Directional approach light system (odals)

Emitted Light Characteristic AGDV:

white

Voltage Rating AMSE:

not rated

Base Style CRPS:

octal three pin

Bulb Light Transmission Characteristic CSMC:

transparent

Filling Gas Type CTGF:

any acceptable

Terminal Type And Quantity TTQY:

3 pin

Cross Reference Parts Part numbers that meet the specification outlined on this page and set by the OEM

Part Number
Cage
RNCC
RNVC
DAC
RNAAC
Status
MSDS
SADC
Part Number:
FT151U
Cage Code:
08805
RNCC:
3
RNVC:
2
DAC:
5
RNAAC:
48
Status:
A
MSDS:
SADC:
Part Number:
31603
Cage Code:
08805
RNCC:
5
RNVC:
2
DAC:
5
RNAAC:
48
Status:
A
MSDS:
SADC:
Part Number:
GN58U
Cage Code:
60426
RNCC:
5
RNVC:
2
DAC:
5
RNAAC:
48
Status:
A
MSDS:
SADC:

Identification Item Identification Guide (IIG) and Item Name Code (INC)

INC
FIIG
Concept No.
App. Key
Cond. Code
Status
INC:
03314
FIIG:
A07900
Concept No.:
App. Key:
B
Cond. Code:
2
Status:
A
BASE STYLE OCTAL THREE PIN style nsn 6240-01-137-5319
FLASHTUBE STYLE HORIZONTAL HELIX style nsn 6240-01-137-5319

Definition Definition of approved item name (AIN): "LAMP,FLASHTUBE"

A lamp that produces repeated light flashes of exceedingly high intensity for short durations. May include incandescent lamp within itself.

6240-01-137-5319 Material Hazmat, Precious Metals, Criticality, Enviroment, and ESD

HMIC
PMIC
ESD
ENAC
ADPE
CRITL
HMIC:
P
PMIC:
U
ESD:
ESD:
ADPE:
CRITL:
N
Hazmat (HMIC) P

Indicates there is no information in the hmirs. The nsn is in a fsc in table ii of fed std 313 and a msds may be required by the user. The requirement for a msds is dependent on a hazard determination of the supplier or the intended end use of item.

Precious Metals (PMIC) U

Precious metal content is unknown

Criticality N

The item does not have a critical feature such as tolerance, fit restrictions or application. nuclear hardness properties have not been determined (not valid for input).

  Identification Codes

HMIC: Hazardous Material Indicator Code. A one position code that identifies a hazardous item.

PMIC: Precious Metal Indicator Code. A one position code which identifies items that have precious metals as part of their content. precious metals are those metals generally considered to be uncommon, highly valuable, and relatively superior in certain properties such as resistance to corrosion and electrical conductivity.

ESD: Electrostatic Discharge. Indicates if an item is susceptible to electrostatic discharge or electromagnetic interference damage. electrostatic discharge damage occurs when an accumulation of static electricity generated by the relative motion or separation of materials is released to another item by direct contact. electromagnetic interference damage occurs when an item comes into proximity with an electrostatic or magnetic field.

ENAC: Enviromental Attribute Code. Identifies items with environmentally preferred characteristics.

CRITL: Criticality Indicator Code. Indicates an item is technically critical by tolerance, fit, application, nuclear hardness properties, or other characteristics.

Material Management Material categorization and source of supply

SOS
SMIC
MMAC
MCC
SOS:
G69
SOS:
MMAC:
MCC:
Source of Supply (SOS) G69

Department of transportation federal aviation administration attn: coe aml-030 tsf bldg 215 po box 25082 oklahoma city, ok 73125-0082

  Material Codes

SOS: Source of Supply. A three position code or routing identifier code (ric), which identifies the source of supply activity.

SMIC: Special Material Indicator Code. A two position code, which categorizes material on the basis of requirements for source or quality control, technical design or configuration control, procurement, stocking and issue control, special receipt, inspection, testing, storage, or handling.

MMAC: Material Management Aggregation Code. A two position code that identifies an item of supply to be managed by a specific activity manager.

MCC: Material Echelon Code. A two position code employed by the marine corps in classifying items into categories by materiel category and procurement echelon. the alphanumeric management code is in the first position and identifies the materiel category

IMC: Denotes wether items shall be subjected to integrated management under the defense supply agency or retained by the individual military service or other department of defense components for their management. Assigned by th activity responsible for item management coding.