NSN 3040-01-110-4311 NIIN 011104311 — Remote Control Lever

NSN
Item Name
Assigned
DEMIL
Shelf Life
UOM
Using Services
NSN:
3040-01-110-4311
3040011104311
Description:
LEVER,REMOTE CONTROL
NSN Assigned:
31-MAR-81
DEMIL:
NO
Shelf Life:
N/A
UOM:
1 EA
Using Services:
Army

Price Quote Get an up to date pricing and availability quote for this product. Order online or over the phone.

Part Number:
Quantity Requested:
Your Email:
Full Name:
Contact Phone:
Company:

Quality Commitment

Serving our customers with quality and safety first.

  •   AS9120 Certified
  •   Audited supply chain
  •   ITAR Registered
  •   DDTC Registered
  •   HAZMAT Certified
  •   Customer service objectives
  •   Every product 100% inspected
AS9120 Certified by SAI Global

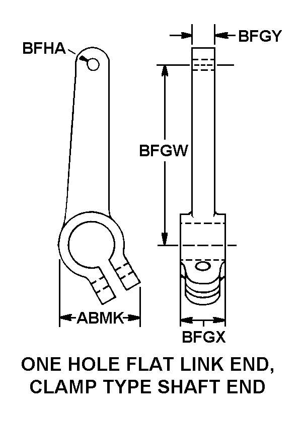
3040-01-110-4311 Specification Set by the OEM (see RNCC code 3)

Major Diameter AAZR:

0.521in.

Overall Width ABMK:

1.000in.

Spline Quantity ABSA:

15

Minor Diameter AGJR:

0.448in. and 0.453in.

Bore Type ASBP:

splined

Center To Center Distance Between Link And Shaft Holes BFGW:

2.560in.

Shaft End Thickness BFGX:

0.600in. and 0.650in.

Link End Thickness BFGY:

0.250in.

Link End Hole Diameter BFHA:

0.500in.

Shaft Securing Method CZLP:

spline

Special Features FEAT:

offset height: 0.310 in.

Material MATT:

aluminum

Style Designator STYL:

one hole flat link end, clamp type shaft end

Cross Reference Parts Part numbers that meet the specification outlined on this page and set by the OEM

Part Number
Cage
RNCC
RNVC
DAC
RNAAC
Status
MSDS
SADC
Part Number:
12297023-1
Cage Code:
19207
RNCC:
3
RNVC:
2
DAC:
1
RNAAC:
AZ
Status:
A
MSDS:
SADC:

Identification Item Identification Guide (IIG) and Item Name Code (INC)

INC
FIIG
Concept No.
App. Key
Cond. Code
Status
INC:
22099
FIIG:
A524P0
Concept No.:
App. Key:
Cond. Code:
2
Status:
A
STYLE DESIGNATOR ONE HOLE FLAT LINK END, CLAMP TYPE SHAFT END style nsn 3040-01-110-4311

Definition Definition of approved item name (AIN): "LEVER,REMOTE CONTROL"

A rigid item usually in the form of an arm of various shapes and cross sections, containing two or more holes so spaced that one serves as a pivot with or without hubs and must have a definite means for securing to a shaft (such as threaded hole for set-screw, keyway(s), splines, serrations or some clamping device). The other hole(s) connect(s) to connecting link, rigid; wire rope assembly, single leg; or clevis, rod end; to provide transmission of movement to other parts of the mechanism. See also bell crank. For manually operated items see lever, manual control.

3040-01-110-4311 Material Hazmat, Precious Metals, Criticality, Enviroment, and ESD

HMIC
PMIC
ESD
ENAC
ADPE
CRITL
HMIC:
N
PMIC:
A
ESD:
ESD:
ADPE:
CRITL:
X
Hazmat (HMIC) N

Indicates there is no data in the hmirs and the nsn is in a fsc not generally suspected of containing hazardous materials.

Precious Metals (PMIC) A

Item does not contain precious metal.

Criticality X

The item does not have a nuclear hardened feature or any other critical feature such as tolerance, fit restriction or application.

  Identification Codes

HMIC: Hazardous Material Indicator Code. A one position code that identifies a hazardous item.

PMIC: Precious Metal Indicator Code. A one position code which identifies items that have precious metals as part of their content. precious metals are those metals generally considered to be uncommon, highly valuable, and relatively superior in certain properties such as resistance to corrosion and electrical conductivity.

ESD: Electrostatic Discharge. Indicates if an item is susceptible to electrostatic discharge or electromagnetic interference damage. electrostatic discharge damage occurs when an accumulation of static electricity generated by the relative motion or separation of materials is released to another item by direct contact. electromagnetic interference damage occurs when an item comes into proximity with an electrostatic or magnetic field.

ENAC: Enviromental Attribute Code. Identifies items with environmentally preferred characteristics.

CRITL: Criticality Indicator Code. Indicates an item is technically critical by tolerance, fit, application, nuclear hardness properties, or other characteristics.

Material Management Material categorization and source of supply

SOS
SMIC
MMAC
MCC
SOS:
SMS
SOS:
MMAC:
MCC:
Source of Supply (SOS) SMS

Defense logistics agency, enterprise business systems

  Material Codes

SOS: Source of Supply. A three position code or routing identifier code (ric), which identifies the source of supply activity.

SMIC: Special Material Indicator Code. A two position code, which categorizes material on the basis of requirements for source or quality control, technical design or configuration control, procurement, stocking and issue control, special receipt, inspection, testing, storage, or handling.

MMAC: Material Management Aggregation Code. A two position code that identifies an item of supply to be managed by a specific activity manager.

MCC: Material Echelon Code. A two position code employed by the marine corps in classifying items into categories by materiel category and procurement echelon. the alphanumeric management code is in the first position and identifies the materiel category

IMC: Denotes wether items shall be subjected to integrated management under the defense supply agency or retained by the individual military service or other department of defense components for their management. Assigned by th activity responsible for item management coding.